
据数据宝,今日,77股特大单净流入超2亿元,东方财富特大单净流入20.71亿元,净流入资金规模居首;中国卫星特大单净流入资金18.52亿元,位列第二;净流入资金居前的还有领益智造、岩山科技、海格通信等。特大单净流出股中,中国平安特大单净流出资金25.52亿元,净流出资金最多;阳光电源、金风科技特大单净流出资金分别为19.26亿元、17.63亿元,净流出资金规模位列第二、第三。
举报 相关阅读
2026元旦档新片总票房破2亿元2026元旦档新片总票房破2亿元
23 01-01 09:57
龙虎榜丨机构今日买入这18股,卖出英维克2.2亿元龙虎榜丨机构今日买入这18股,卖出英维克2.2亿元
29 2025-12-17 18:24
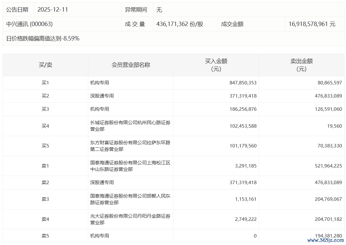
中兴通讯今日跌停 三机构合计净买入6.32亿元中兴通讯今日跌停 三机构合计净买入6.32亿元
35 2025-12-11 16:40
龙虎榜丨机构今日买入这17股,卖出永辉超市3.42亿元共36只个股出现了机构的身影。
5 327 2025-12-09 17:59
第25届华创会在武汉开幕,现场签约82亿元华创会自2001年举办以来,累计促成3000个项目签约落地湖北
8 64 2025-11-26 10:24 一财最热 点击关闭汇盈策略提示:文章来自网络,不代表本站观点。